共振ピエゾモーター直線移動ステージ(リニアステージ)、移動量60 mm

- Linear Stage with Closed-Loop Positioning
- Open Frame Design for OEM Applications
- Control via GUI or ASCII Message Calls
- Fully Integrated Drive Electronics
Direction of Travel
ELL20
Linear Stage
Application Idea
The ELL20K Linear Stage Kit positions a hollow roof prism in this optical delay line.
ELLB
Bus Distributor
ELLC
Interface Board
Linear Stage and Interface Board Also Available as Part of a Bundle

Please Wait
| Key Specificationsa | |
|---|---|
| Travel | 60.0 mm (2.4") |
| Positioning Accuracy | 50 µm |
| Homing Accuracy | 20 µm |
| Repeatability (100 g Load) | 20 µm |
| Velocity (Maximum, No Load) | 90 mm/s |
| Maximum Total Load | 200 g (7.1 oz) |
| DC Voltage Input | 4.5 to 5.5 V |
| Minimum Lifetimeb | 100 km of Travel |
| Weight of Stage and Bracket | 104 g (3.7 oz) |

Click to Enlarge
Figure 1.1 直線移動ステージELL20(/M)の各部品。主要部の名称も記載しています。
特長
- 製品組み込み(OEM)用途のほか、迅速で精密な回転を必要とする用途に適した製品
- 制御信号用にMicro-B USBならびにPicoflex®1 コネクタ
- マルチドロップ接続用シリアル通信プロトコルをサポート
- M4タップ穴が1つとM3タップ穴が4つ付いた直線移動ステージ
- 磁気式インクリメンタル型リニアエンコーダを用いた位置決めステージ
- バス分配器で最大4台までのElliptecデバイスの制御が可能
- アップグレード用アクセサリーキット、インターフェイスボード、ケーブルをご用意(下記参照)
当社のElliptec®共振ピエゾモータ技術を用いたこちらの直線移動ステージ(リニアステージ)は、直線移動を必要とする製品への組み込み(OEM用途)に適したコンパクトなステージです。直線移動ステージは単品(ELL20/M)またはセット(ELL20K/M)の一部としてご提供しております。セットには、ステージを手動制御するためのインターフェイスボードELLC、取付け用ブラケット、電源、ステージとインターフェイスボードを接続するためのケーブル、およびインターフェイスボードとPCを接続するためのケーブルも含まれます。当社では、単品のステージをセットにアップグレードするためのアクセサリーキットELLC1とELLC2もご用意しております。 なお、ELLC1とELLC2には、ELL20K/Mに入っている取付け用ブラケットは付属しませんのでご注意ください。
ステージの中心には1つの部品を取り付けるM4タップ穴と、MMP1/MやRB13P1/Mなどのアダプタープレートを取り付けるM3タップ穴が4つあります。ステージの質量は0.069 kg、設置面積は102.3 mm x 67.0 mm(ステージが中央にある状態)で、軽量かつコンパクトです。ステージを全移動範囲で動かすには、両端に30 mmのクリアランスが必要です。 また閉ループで動作するため、移動プラットフォームの位置決めを精度100 µm、再現性60 µmで行うことができます。ステージELL20/Mの主要部はFigure 1.1でご覧いただけます。
モータは極めて動的特性に優れ、ギアもありません。2つのモータの先端は、Figure 1.1のように、ステージ底部のプラスチック製トラックにしっかりと接触しています。モータは向かい合わせに取り付けられており、どちらの向きに対しても、一方のモータがトラックを押し、もう一方のモータが反対方向に引っ張るときに移動します。モータに電力が供給されていないときは、停止した2つのモータのアームにより、合わせて約1 Nの力でステージの位置が保持されます。詳細については「Elliptec®モータ」のタブをご覧ください。
この直線移動ステージはオープンフレームであることに加え、シンプルさと適応性を兼ね備えています。お客様の要件に合ったカスタマイズと大量生産が可能なため、製品組み込み(OEM)用途に適しています。お客様の要件を当社までお知らせください。お客さまの用途やニーズに合ったソリューションをご提案いたします。
| Elliptec Resonant Motor Products | |||||||
|---|---|---|---|---|---|---|---|
![]() | ![]() | ![]() | ![]() | ![]() | ![]() | ![]() | ![]() |
| Multi-Position Sliders | 28 mm Linear Stage | 60 mm Linear Stage | Rotation Stage | Ø1/2" Rotation Mount | Ø1" Rotation Mount | Ø2" Rotation Mount | Motorized Irises |
制御
このステージの電力供給、駆動、および制御には様々な方法があります。詳細については「取扱い」タブの直線移動ステージの位置決めの段落をご覧ください。ステージには3.3 Vシリアルバスが備わっており、インターフェイスボードELLCの有無にかかわらず操作可能な設計となっています。ピンの配置については「ピン配列」タブをご覧ください。当社では、ステージを完全に独立して制御できるElliptec製品用ソフトウェアをご提供しております。インターフェイスボードをアクセサリとして使用してステージの位置を変更した場合、ソフトウェア内でのステージのステータス情報は自動的に更新されます。
複数のElliptecデバイスは、バス分配器ELLBを使用するか、1本のリボンケーブルに複数のコネクタを接続することで制御が可能です。1個のバス分配器で最大4台までのElliptecデバイスを接続できます。さらに分配器をデイジーチェーン接続することで、最大16台までのデバイスを接続することができます。このバスは、Elliptecソフトウェアが動作しているPCとのインターフェイスボードELLC(下記のセットに付属、別売りでもご用意)を介した接続、Arduino®2またはRaspberry Pi®3ボードとの接続、お手持ちの制御ボードとのコネクターピンを介した接続の3つの方法のうちのいずれかを用いることで制御できます。または、1本のリボンケーブルに最大16台のデバイスを接続することもできます。各デバイスはインターフェイスボードで同時に制御することも、Elliptecソフトウェアでデバイスを選択して制御することもできます。複数のデバイスをリボンケーブルに接続する方法についてはマニュアルを、カスタム接続するときのピン配列については「ピン配列 」タブをご覧ください。
- PicoflexはMolex社の登録商標です。
- ArduinoはArduino社の登録商標です。
- Raspberry PiはRaspberry Pi財団の登録商標です。
| Specificationsa | |
|---|---|
| Performance | |
| Travel | 60.0 mm (2.4") |
| Positioning Accuracy | 50 µm |
| Homing Accuracy | 20 µm |
| Repeatability (With 100 g Load) | 20 µm |
| Velocity (Maximum, No Load) | 90 mm/s |
| Acceleration (Maximum, No Load) | 6.0 m/s2 |
| Minimum Holding Force (Both Motors Engaged) | 1 N |
| Vertical Straightness (Runout)b | 13.0 µm |
| Horizontal Straightness (Runout)b | 13.0 µm |
| Pitch (Over Full Travel Range) | 1.5 mrad |
| Yaw (Over Full Travel Range) | 1.5 mrad |
| Full-Scale Nonlinearity Error | < 120 µm |
| Encoder Resolution (Relative Magnetic Encoder) | 0.98 µm |
| Velocity Compensation (No Load)c | 60% to 100% |
| Maximum Total Loadd | 200 g (7.1 oz) |
| Minimum Lifetimee | 100 km of Travel |
| Electrical | |
| Motor Type | Elliptec® Resonant Piezo |
| DC Voltage Input | 4.5 to 5.5 V |
| Typical Current Consumption, During Movement (No Load) | 0.9 A |
| Typical Current Consumption, During Standby | 0.07 A |
| Communications | |
| Busf | Multi-Drop 3.3 V/5 V TTL RS232 |
| Connector on Linear Stage Board | Picoflex® |
| Speed | 9600 baud |
| Data Length (1 Stop Bit, No Parity) | 8 bit |
| Protocol Data Format | ASCII HEX |
| Module Address and Command Format | Mnemonic Character |
| Mechanical | |
| Mounting Threads (On Stage) | One 8-32 (M4), Four 4-40 (M3) Depth: 0.16" (4 mm) |
| Dimensions of the Linear Stage Board (Without Bracket) | 4.03" x 2.64" x 0.60" (102.3 mm x 67.0 mm x 15.3 mm) |
| Dimensions of the Linear Stage Board (With Bracket) | 4.03" x 2.64" x 0.73" (102.3 mm x 67.0 mm x 18.4 mm) |
| Weight of the Linear Stage Board (Without Bracket) | 69 g (2.4 oz) |
| Weight of the Linear Stage Board (With Bracket) | 104 g (3.7 oz) |
| Environmental Operating Conditions | |
| Temperature Range | 15 to 40 °C |
| Maximum Relative Humidity (Non-Condensing) | < 80% at 31 °C |
| Maximum Altitude | 2000 m |
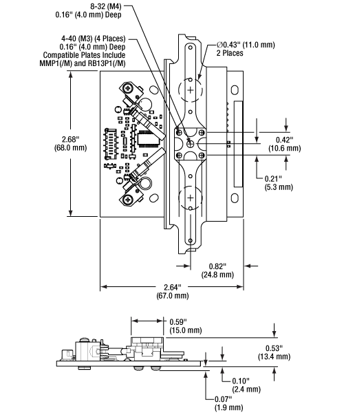
Figure 2.1のように、セットには取付けブラケットが付属します。ブラケットは付属の4本のネジを用いて直線移動ステージのPCBの裏面に取り付けます。ブラケットの2つのスロットはPCBの両側にあるØ11.0 mmの穴に整合しているため、M6キャップスクリュをPCBの穴に挿入して、直線移動ステージボードを光学テーブルやブレッドボードに固定することができます。ブラケットを取り付けると、ステージの厚みは5.0 mm増します。ステージの寸法と取付け機能についてはFigure 2.2をご覧ください。

Click to Enlarge
Figure 2.2 直線移動ステージの図面

Click to Enlarge
Figure 2.3 インターフェイスボードELLCの図面
| Connector J1 Pinouta | ||
|---|---|---|
| Pin | Type | Function |
| 1 | PWR | Ground |
| 2 | OUT | ODTX - Open Drain Transmit 3.3 V TTL RS232 |
| 3 | IN | RX Receive - 3.3 V TTL RS232 |
| 4 | OUT | In Motion, Open Drain Active Low Max 5 mA |
| 5 | IN | JOG/Mode, Active Low Max 5 V |
| 6 | IN | BW Backward, Active Low Max 5 V |
| 7 | IN | FW Forward, Active Low Max 5 V |
| 8 | PWR | VCC +5 V ± 10%; 900 mA |
| ELLB Connector J1, J2, J3, and J4 Pinouta,b | ||
|---|---|---|
| Pin | Type | Function |
| 1 | PWR | Ground |
| 2 | OUT | OTDX - Open Drain Transmit 3.3 V TTL RS232 |
| 3 | IN | RX Receive 3.3 V TTL RS232 |
| 4 | OUT | In Motion, Open Drain Active Low Max 5 mA |
| 5 | IN | Not Connected |
| 6 | IN | Not Connected |
| 7 | IN | Not Connected |
| 8 | PWR | VCC +5 V ± 10%; 800 mA per Connected Device |

Click to Enlarge
バス分配器ELLB上のPicoflex®コネクタのピン配列図。
左上はELLBの簡略図です。コネクタ上の極性を示すマークが、
8ピンコネクタ付きケーブルの赤いワイヤに近くなるように
接続してください。
使用上の注意点
こちらのタブでは、直線移動ステージELL20/Mの取扱いや、取付け、操作方法に関する情報がご覧いただけます。
目次

Click to Enlarge
Figure 4.1 直線移動ステージボードELL20(/M) とそのステージ上に取り付けられたアダプタープレートRB13P1(/M)。取付けブラケットがPCBボードの底面に取り付けられています。

Click to Enlarge
Figure 4.3 直線移動ステージ(ブラケット無し)

Click to Enlarge
Figure 4.2 直線移動ステージの概要図

Click to Enlarge
Figure 4.5 インターフェイスボードELLc

Click to Enlarge
Figure 4.4 インターフェイスボードELLCの概要図
取扱い
直線移動ステージELL20/Mは一般的な取扱いに対しては堅牢に作られています。動作の信頼性を確保するために、モータが接触するプラスチック製のトラックには油、汚れ、埃が付かないようにしてください。直線移動ステージを取り扱う際に手袋の着用までは必要ありませんが、トラックに油脂を付着させないために、手指で触れないようにご注意ください。トラックが汚れた場合には、イソプロピルアルコールまたはミネラルスピリット(ホワイトスピリット)で汚れを拭き取ってください。アセトンはプラスチック製のトラックを損傷しますので使用しないでください。
ELL20/Mのオープンフレームは8 kVまでの静電気放電に耐えられます。静電気放電(ESD)によって、スライダの意図しない動きを誘発する電気信号が生じる可能性がありますので、ESDに対する予防策を講じてください。500 gを超える曲げ荷重をボードに加えるとPCBが変形し、直線移動ステージの性能が劣化します。ステージのホーミングおよび位置決めには磁気センサから読み取った情報が使用されるため、PCBの構造に過大な荷重を加えたり、磁界を印加したりしないでください。ホーミングおよび位置決めに悪影響を及ぼさないために、磁気センサ付近の磁界の強さは±5 mT以下に制限してください。
直線移動ステージの取付けと負荷
直線移動ステージELL20(/M)はステージの上面を水平面内または垂直面内で動かすことができます。 垂直面内で動かす場合には、ステージが上下ではなく横方向に移動するよう取り付けてください。ELL20K/Mに付属する取付けブラケットは、付属の4本のネジを使用してPCBの裏面に取り付けます。ブラケットの2つのスロットはPCBの両側にあるØ11.0 mmの穴と整合するため、M6キャップスクリュをPCBの穴に挿入し、直線移動ステージを光学テーブルやブレッドボードに固定することができます。ブラケットを使わずに、PCBの4つのスロット穴を使用して、ステージをカスタム仕様の冶具に取り付けることもできます。 その際は冶具の導電性の部分がボード裏の回路に接触しないように取り付けてください。回路に接触すると電気的に短絡し、ステージの動作に有害な影響を及ぼします。 ステージを取り付ける際は、PCBが曲がらないようにしてください。
負荷はステージ中心にあるM4タップ穴または4つのM3タップ穴を使用して取り付けます。M3タップ穴の間隔はMMP1/MやRB13P1/Mなどのアダプタープレートが取り付けられるように設計されています(Figure 4.1参照)。 取り付けられる部品の最大重量は200 gです。取り付ける部品や負荷が、直線移動ステージの可動部分と干渉しないようにご注意ください。ステージや負荷が揺れるとエンコーダーエラーが発生する場合があります。
電力の供給
インターフェイスボードを使用している時は、電力はそのボード上のMicro-B USBコネクタまたは5 VDC電源ソケットから供給可能です。インターフェイスボード上の電子回路により、入力されたDC信号は必要な共振周波数の正弦波信号に変換されます。
ELL20K/Mセットには 5 VDC電源が付属し、そのコネクタはインターフェイスボードの電源ソケットに接続できます。このソケットを介して電源を供給すると、Micro-B USBコネクタにUSBケーブルを取り付けてPCに接続できるため、ステージをリモート制御することができます。PCのUSB 2.0のコネクタから供給される電源は、ステージの駆動に十分ではありません(当該事項の詳細はマニュアルを参照)。PC制御を必要としない場合は、携帯型のUSB5 Vバッテリーパックをインターフェイスボード上のMicro-B USBコネクタに接続して、ステージに電源を供給することもできます。
インターフェイスボードを実装しない場合には、直線移動ステージボードに付属するPicoflexコネクタ上のピンを介して電源を供給することができます。 このコネクタのピン配列は「ピン配列」タブに記載されています。直線移動ステージへの電力供給やアドレス指定に関する詳細は、それぞれマニュアルと通信プロトコルマニュアルをご参照ください。
モータの動作
直線移動ステージの動作は、ピエゾ素子を特定の超音波周波数で振動させることにより制御します。それぞれのモータには2つの超音波共振周波数があり、一方はステージを前方に押し出すように作用し、他方はステージを後方に引っ張るように作用します。モータを一方の共振周波数で駆動すると、モータの先端は小さな楕円形の軌跡を時計回りに連続的に描きます。モータをもう一方の共振周波数で駆動すると、先端は同じ軌跡を反時計回りに描きます。どちらの共振周波数も100 kHz近辺です。モータ先端の総変位量は、駆動する機械的負荷とピエゾ素子に供給される電圧の両方に依存します。負荷を付けずに、5 Vの最大電圧を用いて共振周波数で駆動すると、モータの先端は数μm以下の伸縮をして楕円を描きます。詳細については「Elliptec®モータ」のタブと、モータの動作原理について説明している動画をご覧ください。
直線移動ステージのホーミング
ステージのホーミングは、インターフェイスボード上のBWボタンの押下、Elliptec®ソフトウェアのグラフィカルユーザーインターフェイス(GUI)内のHomeボタンのクリック、または通信プロトコルマニュアルに記載されている適切なASCIIメッセージの送信によって実行されます。ステージのホーミングならびに位置決めにはインクリメンタル型の磁気センサを用いていますが、そのエンコーダの分解能は0.98 µmです。ステージはデフォルトのホーム位置を定めるとき、移動範囲の限界を探すために前後に移動します。デフォルトのホーム位置は、ステージの移動範囲の一方のノーマルな限界位置(後方側の位置)です。 ホーム位置は、必要に応じて、デフォルトの位置からオフセットして再設定することができます。このようなホーム位置のカスタマイズは、複数のステージの向きを同期して動かす際に便利です。
直線移動ステージの位置決め
この直線移動ステージは連続動作用としては設計されておりませんのでご注意ください。一般的な用途においてはデューティ比40%以下での動作をお勧めいたします。また、デューティ比60%以上での動作は数秒以下に制限する必要があります。
ステージの位置決めを行う前に、ステージのホーム位置を検出しなければなりません。詳細については前のセクションをご参照ください。 ステージの動作はインターフェイスボードのボタン操作、Elliptecソフトウェアパッケージ(ダウンロード可能)を介したPC制御、またはステージボードのデジタル信号線への単純な信号の供給により制御できます。 インターフェイスボード上のボタンは、Figure 4.5のインターフェイスボードでご覧いただけます。ソフトウェアとその付属文書のダウンロードリンクは「ソフトウェア」のタブにございます。 インターフェイスボードはElliptecソフトウェアとステージを接続するアクセサリとして使用することもできます。その場合、インターフェイスボードのボタンを押したとき、直線移動ステージの位置変化はすべてソフトウェアによって記録されます。またインターフェイスボードが接続されていれば、ソフトウェアだけでステージの制御が可能です。
複数のElliptecデバイスは、バス分配器ELLBを使用するか、複数のコネクタを1本のリボンケーブルに接続することで制御できます。1個のバス分配器で最大4台までのElliptecデバイスを接続できます。さらに分配器をデイジーチェーン接続することで、最大16台までのデバイスを接続することができます。このバスは、Elliptecソフトウェアが動作しているPCとのインターフェイスボード(下記のセットに付属、別売りでもご用意)を介した接続、Arduino®またはRaspberry Pi®ボードとの接続、お手持ちの制御ボードとのコネクターピンを介した接続の3つの方法のうちのいずれかを用いることで制御できます。なお、インターフェイスボードをご使用の場合、ボード上のボタンは無効になります。または、1本のリボンケーブルに最大16台のデバイスを接続することもできます。各デバイスはインターフェイスボードで同時に制御することも、Elliptecソフトウェアでデバイスを選択して制御することもできます。複数のデバイスをリボンケーブルに接続する方法についてはマニュアルを、カスタム接続するときのピン配列については「ピン配列 」タブをご覧ください。ソフトウェアで各デバイスを個別にアドレス指定する方法については、通信プロトコルマニュアルをご参照ください。ソフトウェアと付属文書は「ソフトウェア」タブからダウンロードいただけます。
インターフェイスボードのJOGボタンを押したままFWまたはBWボタンを操作することで、ステージをあるステップサイズで前後に移動させることができます。このステップサイズのデフォルト値は2 mmですが、Elliptecソフトウェアを使用するか通信プロトコル文書で規定されている適切なASCIIメッセージを送信することによりカスタマイズが可能です。ステージは前後にジョグ動作するだけでなく、Elliptecソフトウェアを使用して絶対位置および相対位置への移動も可能です。また前述のとおり、ソフトウェアを使用してジョグ動作のステップサイズの設定や、ステージ位置の読み取り、そしてホーム位置の調整を行うことも可能です。ステージの速度は、ASCIIメッセージを送信することで、最大速度の60%以上の範囲で調整可能です。方法については通信プロトコルマニュアルをご覧ください。
ステージは、位置誤差補正アルゴリズムを用いて、正確な位置決めを効率的に習得します。ステージが新規位置へ移動すると、要求された位置と実際の位置との誤差が検出されます。これによりステージの位置が修正され、誤差の補正値が算出されます。このアルゴリズムでは誤差の補正値が順次更新され、ステージが次の位置に移動する際に適用されます。一般的に、誤差補正値は2~6回移動すると最適値になります。
共振周波数
工場出荷時の初期設定では、直線移動ステージの駆動用モータの電源投入時に、最良の性能が得られる共振周波数の検出作業を行うように設定されています。そのプロセスで直線移動ステージは前後に移動します。起動時のこの動作が望ましくない場合には、シリアルポートを使用して電源投入時の周波数を初期化することで、校正プロセスを無効にすることができます。最適共振周波数の検出はいつでも実施可能ですが、適切な性能を維持するために、荷重や周囲温度が変化したときには、新たにこの検出作業を実施することをお勧めします。詳細についてはマニュアルをご参照ください。

Click to Enlarge
Figure 81B Elliptecモータの部品

Click to Enlarge
Figure 81A Elliptec共振ピエゾモータ
Elliptec® 共振ピエゾモータ
Figure 81Aに示した当社のElliptec®共振ピエゾモータの質量は1.2 gと軽量で、共振器筐体の寸法はバネを除いて8 mm×4 mm×20 mmとコンパクトです。
モータの部品
モータを構成する部品はFigure 81Bでご覧いただけます。ピエゾ素子はアルミニウム製の共振器内に圧入されています。共振器はその先端が必要とされる楕円形の動作をし、駆動されるモジュールと適切に接触するよう精密設計・精密加工がなされています。バネの自由端側は共振器筐体に組み込まれています。ピエゾ素子の上部ならびに底部にはんだ付けされているワイヤには、ピエゾ素子を超音波周波数で振動させるための電圧信号を供給します。
モータをシステム内に組み込むときは、バネの開ループ側を駆動される対象物に対して動かない頑丈な面に固定し、共振器の先端は対象物に接触させます。バネの目的は共振器の先端と駆動対象物との接触を一定に維持することです。また移動方向はピエゾ素子を駆動する2つの共振周波数によって決まります。
楕円形の動作と一般的なモータとの比較
このモータは、2つの共振周波数のうちのいずれかで駆動することにより動作します。超音波周波数で振動する電圧信号がピエゾ素子に印加されると、ピエゾ素子はその電圧信号の周波数に合わせて1 µm以下のレベルで伸長し、また元の寸法にまで収縮します。ピエゾ素子の寸法がこのように高速のサイクルで変化すると、アルミニウム製の共振器に振動が発生します。この振動が筐体の共振周波数のうちの一方の周波数で生じているときに、モータの先端に押す動作が発生します。もう一方の共振周波数で振動するときは、引っ張る動作が発生します。
Video 81Cに示されているように、モータが共振状態で動作している時にはその先端が楕円形の軌跡を描き、それによってこの引っ張る動作と押す動作が発生します。また、楕円の回る方向は選択された共振周波数によって決まります。モータの先端は楕円の半分を描くときは伸び、残りの半分を描くときは縮みます。モータが対象物を押すときは、先端が伸びるときに先端と対象物が接触し、縮むときには接触しません。モータが対象物を引っ張るときは、逆の動作をします。モータ先端の総変位量は、駆動する機械的負荷とピエゾ素子に供給される電圧の両方に依存します。駆動電圧のピーク値が5 Vのとき、最大変位量は数µmまで大きくなる可能性があります。
このモータはDCモータあるいは電磁ステッピングモータと同じように動作しますが、従来のモータの様々な欠点がありません。従来の電磁モータを停止させるには慣性に伴う遅延を克服する必要がありますが、非常に動的特性に優れたElliptecモータでは数マイクロ秒で停止できます。ギアがないため、バックラッシュも発生しません。磁石も無いため、電磁障害に敏感な用途にも使用できます。駆動される対象物の動きは連続的でスムーズです。駆動対象物を動かすにはモータの先端をそれと接触させる必要があるため、モータには摩擦ブレーキという安全機能が備わっています。プラスチック面に接している場合は、モータは静かに動作します。
製品組み込み(OEM)用途のためには、低コストに抑えるためモータを大量生産し、低価格のアナログ電子回路で駆動することもできます。マイクロプロセッサやソフトウェアは必要ありませんが、対応は可能です。

Click to Enlarge
Figure 6.1 Elliptec共振ピエゾモータ用コントロールソフトウェアのGUI
Elliptec®共振ピエゾモータ用ソフトウェア
Elliptec®共振ピエゾモータをベースとするすべてのデバイスは、直感的なGUIを特長とするElliptecシステムソフトウェアで制御可能です。C#フォーマットのソースコードがダウンロード可能なソフトウェア一式に含まれており、あらゆる言語でカスタム仕様のアプリケーションを作成することができます。Figure 6.1はGUIのスクリーンショットです。また下のボタンをクリックするとダウンロードのページがご覧いただけます。
コマンドはGUI画面のSequencer command / wait orderに入力します。デバイスに送るコマンドの例として、「Agj」はアドレス「A」のステージのジョグステップサイズを取得するコマンドで、「Asj0000200」はそのステップサイズを0.25 mmに設定します。また「Abw」はアドレス「A」のステージを0.25 mm後方に戻します。コマンド「As1」は、アドレス「A」のモータ1に対して、 現在の動作条件に適した共振周波数の検出作業を実施します。
| Posted Comments: | |
Tim Hebenstreit
 (posted 2025-06-06 10:48:26.193) Dear Thorlabs team,
I use one of these stages in my beam path to quickly move a pinhole in or out. However, since I have an HBT setup afterwards, I can detect the signal from the position sensor (infrared LED) on the board. Is there a way to deactivate this LED when the stage is not being moved so that it does not generate background in my measurement? Unfortunately, I can not filter the light since my emitter is at about the same wavelength region as the sensor's LED.
Any help would be greatly appreciated. Thanks a lot and kind regards
Tim spolineni
 (posted 2025-06-13 06:11:13.0) Thank you for your enquiry. I will contact you directly to discuss your setup and offer further support with your requirements. A Woehler
 (posted 2025-05-15 17:03:53.767) Hi Thorlabs team,
Is there any way I can trick an ELL12 into thinking its a "stage" and not a "shutter". It would be very useful to be able to set it to any arbitrary position and not just one of the 6 predefined positions. Thanks for your help! dnewnham
 (posted 2025-05-28 09:50:14.0) Thank you for your inquiry you are not able to have these stages move outside of the predefined positions. Jonathan Merten
 (posted 2024-10-07 12:01:54.86) Sirs-
I am trying to use a combination of elliptec rotary stage and linear stage to move my sample for laser ablation experiments. The rotation stage works virtually always. The linear stage stops responding (and even ceases to be found on the ello utility) constantly and has cost me tens of thousands of dollars in time. How can I make this reliable? Jonathan Merten do'neill
 (posted 2024-10-11 05:35:00.0) Thank you for reaching out and I am sorry to hear you are experiencing issues. I will contact you directly to help troubleshoot this with you. user
 (posted 2024-08-22 08:53:54.02) Hi, can the stage work with the bottom surface in the horizontal plane (i.e. upside down)? tschofield
 (posted 2024-09-02 08:14:29.0) Thank you for your question. The recommended mounting orientation is horizontal for the ELL20(/M). So long as the the resulting motion takes place in the horizontal plane, most orientations are acceptable during use.
If you plan to mount the ELL20 upside down with the top face of the metal moving world facing the source of gravity, please keep in mind that the accumulation of dust or the rails of the ELL20(/M) will impede its motion and the weight capacity of the ELL20(/M) will be reduced. We do not recommend running the ELL20(/M) in this configuration. I will reach out to you regarding your application. Thanistha Pinyapo
 (posted 2023-11-29 16:59:22.02) Dear Sir or Madam, I want to apply Ell20K/M and DCC cameras together. Could you recommend whether I should use Matlab or LabView to control Ell20K/M? Do you have any sample code for a beginner? do'neill
 (posted 2023-12-04 07:44:19.0) Response from Daniel at Thorlabs. It would be possible to use either language to control the ELL20 however, the choice in language can be very application dependent. In this case I would possibly recommend LabVIEW out of the two. I will reach out to you directly to provide a LabVIEW example and discuss your application with you. Anton Lappe
 (posted 2023-11-07 03:03:49.393) Dear Sir or Madam,
I purchased the Ell20K/M and have the following Problem: The Software "Ello" crashes frequently while using. Especially when doing the cleaning routine. Please reach out to me to discuss a solution. Best Regards do'neill
 (posted 2023-11-13 04:09:47.0) Response from Daniel at Thorlabs. I am sorry to hear this. I will reach out to you directly to help troubleshoot this with you. Katrin Meier
 (posted 2023-06-13 12:15:18.92) Hello! In the past, I was using Matlab to communicate with an ELL20-stage via the serial interface. For this, I had to choose to which COM-Port of my computer the stage is connected. Is is also possible to use such a solution for communicating with two stages using the ELLB and Matlab? How would the stages then be adressed, being connected to the same COM-port? Thank you very much! do'neill
 (posted 2023-06-20 12:01:35.0) Response from Daniel at Thorlabs. This is possible, they will be connected by the same COM-port but will have different addresses within that from 0-F (meaning a maximum of 16 devices can be connected this way). I will reach out to you directly to discuss this further. Sebastian Harenbrock
 (posted 2022-09-09 15:16:58.12) I'd like to share a tip that I wish I'd known sooner.
I'm using a QTH10 (10W halogen lamp) with a cylindrical lens to focus the light down to a narrow column across the middle of this 60mm stage. I noticed today that whenever the lamp is switched on, the stage has a very hard time performing its cleaning or optimisation routines. It constantly gets stuck, emitting a high-pitched sound. Only when the beam of light is broken (e.g. by my face when getting close to listen to the whining noise) does it start to move again.
A simple fix (besides turning the lamp off) was to put a small piece of black masking tape across the white cable terminal such that the IC on the board is obscured.
I don't know exactly what causes this. Perhaps the significant infrared emissions of the lamp raise the temperature of the chip too much, but I think the effect appears and disappears to quickly for that. I'd be curious if someone knows. DJayasuriya
 (posted 2022-09-14 06:27:25.0) Thank you for your inquiry. The infrared emission from the halogen lamp would interfere with the position sensor which would cause performance issues. Hope this helps. If you have any questions please get in touch with your local tech support team. Roberta Frass-Kriegl
 (posted 2022-05-06 14:16:34.897) Dear Sir or Madam,
I am a researcher in the field of Magnetic Resonance Imaging.
I am interested in using the 60 mm Linear Translation Stage with Resonant Piezoelectric Motorsinside the MR scanner.
This is not trivial, and I would like to ask your judgment whether the device could be functional under the following conditions:
-very high static magentic field (3T)
-high-power RF field (123 MHz, few hundreds of W)
-magnetic field gradients, switched at kHz rate
Ideally, all components would be non-magnetic, but from my experience, small para- or ferromagnetic parts (e.g. screws, connectors) are not too
much of a problem. What would be really problematic are transformers,
for example.
As a quick test to start with, could you check for any ferro-magnetic parts with a hand-held magnet?
Please let me know your opinion on that topic.
Best regrads,
Roberta Frass DJayasuriya
 (posted 2022-05-09 08:26:48.0) Thank you for your inquiry. Unfortunately we do not have this data to hand, but we have got in touch with you directly. Jonathan Merten
 (posted 2022-05-03 18:21:54.99) I have found these stages to be a bit flaky. Unfortunately, I have built my application around them and cannot go back at this point. My brand-new ELL20 is largely unresponsive (i.e. communicates, but does not manage to move in most cases, certainly not reliably). This is the first time that I have even plugged it in. Can you provide a new unit or help troubleshoot? The ELL14 bought in the same order works just fine DJayasuriya
 (posted 2022-05-05 04:09:18.0) Thank you for your feedback. Sorry to hear this we have got in touch directly to resolve this issue. DJayasuriya
 (posted 2022-05-05 04:09:18.0) Thank you for your feedback. Sorry to hear this we have got in touch directly to resolve this issue. user
 (posted 2021-06-09 11:12:53.477) Do you have any experience concerning the outgassing of the control board under vacuum conditions? DJayasuriya
 (posted 2021-06-16 04:16:26.0) Thank you for your inquiry. Unfortunately these are not vacuum compatible. We have got in touch with you directly as well. Sebastian Harenbrock
 (posted 2021-01-24 15:02:20.303) Do you have any Python code examples for controlling this stage? I'd like to avoid implementing the entire communications protocol from scratch, if possible. cwright
 (posted 2021-01-25 08:39:32.0) Response from Charles at Thorlabs: Thank you for your query. We will reach out to you with an example of how to use Python with these stages. Martin Ahrens
 (posted 2020-04-27 05:44:49.633) Ich wollte fragen ob es auch eine LabView-Software zu der Stage gibt. DJayasuriya
 (posted 2020-04-28 04:26:23.0) Thank you for contacting Thorlabs. Yes you are able to use Labview in controlling the stage. Your local techsupport team will get in touch to discuss your application. |
電動リニアステージ
電動の直線移動ステージとしては、ピエゾ駆動の20 µm移動ステージからダイレクトドライブ方式の600 mm移動ステージまで、様々な最大移動量の製品をご用意しております。ステージの多くは、それらを用いてXY軸やXYZ軸などの多軸ステージを構築することができます。ファイバ結合用としては、多軸ステージのページをご覧ください。標準の電動ステージを用いるよりも精密な調整が可能です。直線移動ステージのほかに、電動の回転ステージおよびゴニオステージもご用意しております。また手動移動ステージもございます。
ピエゾステージ
これらのステージでは、様々な駆動機構にピエゾ素子が組み込まれています。ステージORIC®シリーズでは、「スティック-スリップ」と呼ばれる摩擦特性を利用したピエゾ慣性アクチュエータが用いられており、それにより長い移動距離が得られています。移動ステージNanoflex™シリーズは、手動アクチュエータに加えて標準的なピエゾアクチュエータが用いられています。ステージElliptec®シリーズでは共振ピエゾモータが用いられており、共振に伴うモータ先端の楕円形の動きで可動プラットフォームを押したり引いたりします。Z軸ステージLPS710E/Mにはピエゾ移動に対する機械的な増幅機構が組み込まれており、またそれに適したコントローラが付属しています。
| Piezoelectric Stages | ||||||
|---|---|---|---|---|---|---|
| Product Family | ORIC® PDXZ1 Closed-Loop 4.5 mm Vertical Stage | ORIC® PD2 Open-Loop 5 mm Stage | ORIC® PDX2 Closed-Loop 5 mm Stage | ORIC® PDX4 Closed-Loop 12 mm Stage | ORIC® PD1 Open-Loop 20 mm Stage | ORIC® PD1D Open-Loop 20 mm Monolithic XY Stage |
| Click Photo to Enlarge | ![]() | ![]() | ![]() | ![]() | ![]() | ![]() |
| Travel | 4.5 mm | 5 mm | 12 mm | 20 mm | ||
| Speed | 1 mm/s (Typ.)a | 10 mm/s (Typ. Max)b | 8 mm/s (Typ.)c | 15 mm/s (Typ.)a,c | 3 mm/s (Typ. Max)d | |
| Drive Type | Piezoelectric Inertia Drive | |||||
| Possible Axis Configurations | Z | X, XY, XYZ | XY, XYZ | |||
| Mounting Surface Size | 45.0 mm x 42.0 mm | 13.0 mm x 13.0 mm | 13.0 mm x 23.0 mm | 30.0 mm x 30.0 mm | ||
| Additional Details | ||||||
| Piezoelectric Stages | ||||||
|---|---|---|---|---|---|---|
| Product Family | ORIC® PDX1 Closed-Loop 20 mm Stage | ORIC® PDX1A Closed-Loop 20 mm Stage Low-Profile | ORIC® UDX1 Ultrasonic Closed-Loop 20 mm Stage | ORIC® PD3 Open-Loop 50 mm Stage | ORIC® PDX3 Closed-Loop 50 mm Stage | |
| Click Photo to Enlarge | ![]() | ![]() | ![]() | ![]() | ![]() | |
| Travel | 20 mm | 50 mm | ||||
| Speed | 20 mm/s (Typ. Max)a | 10 mm/s (Typ.)b | 100 mm/s (Typ. Max)c | 10 mm/sd | 10 mm/s (Typ. Max)b | |
| Drive Type | Piezoelectric Inertia Drive | Ultrasonic Piezoelectric Drive | Piezoelectric Inertia Drive | |||
| Possible Axis Configurations | X, XY, XYZ | |||||
| Mounting Surface Size | 30.0 mm x 30.0 mm | 80.0 mm x 30.0 mm | ||||
| Additional Details | ||||||
| Piezoelectric Stages | |||||||
|---|---|---|---|---|---|---|---|
| Product Family | Nanoflex™ 20 µm Stage with 5 mm Actuator | Nanoflex™ 25 µm Stage with 1.5 mm Actuator | Compact Modular XRN25X 25 mm Stage | Modular XR25X 25 mm Stage | Elliptec® 28 mm Stage | Elliptec® 60 mm Stage | LPS710E 1.1 mm Vertical Stage |
| Click Photo to Enlarge | ![]() | ![]() | ![]() | ![]() | ![]() | ![]() | ![]() |
| Travel | 20 µm + 5 mm Manual | 25 µm + 1.5 mm Manual | 25 mm | 28 mm | 60.0 mm | 1.1 mm | |
| Maximum Velocity | - | ≤3.6 mm/mina | 180 mm/s | 90 mm/s | - | ||
| Drive Type | Piezo with Manual Actuator | Piezoelectric Inertia Drive | Resonant Piezoelectric Motor | Amplified Piezo | |||
| Possible Axis Configurations | X, XY, XYZ | X, XY, YZ, XZ, XYZ | X | Z | |||
| Mounting Surface Size | 75 mm x 75 mm | 30 mm x 30 mm | 85.0 mm x 50.7 mm | 110.0 mm x 75.7 mm | 15 mm x 15 mm | 21 mm x 21 mm | |
| Additional Details | |||||||
ステッピングモーターステージ
こちらの移動ステージは脱着型あるいは内蔵型のステッピングモータを用いており、また300 mmまでの長い移動量が可能です。これらのステージの多くは多軸移動機能を有していたり(PLSXY)、あるいは多軸ステージを組み立てることが可能であったりします(PLSX、クイック接続型XR25シリーズ、LNRシリーズ、NRTシリーズ、LTSシリーズ)。ステージMLJ150/Mは高荷重にも対応する垂直移動ステージです。
| Stepper Motor Stages | |||||
|---|---|---|---|---|---|
| Product Family | PLSX with and without PLST(/M) Top Plate 1" Stage | PLSXY with and without PLST(/M) Top Plate 1" Stage | LNR Series 25 mm Stage | LNR Series 50 mm Stage | |
| Click Photo to Enlarge | ![]() | ![]() | ![]() | ![]() | |
| Travel | 1" | 25 mm | 50 mm | ||
| Maximum Velocity | 7.0 mm/s | 2.0 mm/s | 50 mm/s | ||
| Possible Axis Configurations | X, XY | X, XY, XYZ | X, XY, XYZ | ||
| Mounting Surface Size | 3" x 3" | 60 mm x 60 mm | 100 mm x 100 mm | ||
| Additional Details | |||||
| Stepper Motor Stages | |||||||
|---|---|---|---|---|---|---|---|
| Product Family | NRT Series 100 mm Stage | NRT Series 150 mm Stage | LTS Series 150 mm Stage | LTS Series 300 mm Stage | LTS Series 450 mm Stage | MLJ250 50 mm Vertical Stage | |
| Click Photo to Enlarge | ![]() | ![]() | ![]() | ![]() | ![]() | ![]() | |
| Travel | 100 mm | 150 mm | 150 mm | 300 mm | 400 mm | 50 mm | |
| Maximum Velocity | 30 mm/s | 50 mm/s | 3.0 mm/s | ||||
| Possible Axis Configurations | X, XY, XYZ | X, XY, XYZ | X, XY | Z | |||
| Mounting Surface Size | 84 mm x 84 mm | 100 mm x 90 mm | 148 mm x 131 mm | ||||
| Additional Details | |||||||
DCサーボモーターステージ
脱着型あるいは内蔵型のDCサーボモータを用いた直線移動ステージをご用意しております。これらのステージは薄型で、多軸ステージの構築が可能です。
| DC Servo Motor Stages | ||||
|---|---|---|---|---|
| Product Family | MT Series 12 mm Stages | PT Series 25 mm Stages | MTS Series 25 mm Stage | MTS Series 50 mm Stage |
| Click Photo to Enlarge | ![]() | ![]() | ![]() | ![]() |
| Travel | 12 mm | 25 mm | 25 mm | 50 mm |
| Maximum Velocity | 2.6 mm/s | 2.4 mm/s | ||
| Possible Axis Configurations | X, XY, XYZ | X, XY, XYZ | ||
| Mounting Surface Size | 61 mm x 61 mm | 101.6 mm x 76.2 mm | 43 mm x 43 mm | |
| Additional Details | ||||
| DC Servo Motor Stages | ||||
|---|---|---|---|---|
| Product Family | M30 Series 30 mm Stage | M30 Series 30 mm Monolithic XY Stage | M150 Series 150 mm XY Stage | KVS30 30 mm Vertical Stage |
| Click Photo to Enlarge | ![]() | ![]() | ![]() | ![]() |
| Travel | 30 mm | 150 mm | 30 mm | |
| Maximum Velocity | 2.4 mm/s | X-Axis: 170 mm/s Y-Axis: 230 mm/s | 8.0 mm/s | |
| Possible Axis Configurations | X, Z | XY, XZ | XY | Z |
| Mounting Surface Size | 115 mm x 115 mm | 272.4 mm x 272.4 mm | 116.2 mm x 116.2 mm | |
| Additional Details | ||||
ダイレクトドライブステージ
こちらの薄型ステージにはブラシレスDCサーボモータが内蔵されており、バックラッシュの無い高速移動が可能です。電源が入ってないときは、ステージのプラットフォームにはほとんど慣性が無く、実質的にフリーラン状態になります。そのため電源が入ってないときにステージのプラットフォームが定位置に留まる必要のある用途には適していません。これらのステージを垂直方向に取付けることは推奨しません。
| Direct Drive Stages | |||||
|---|---|---|---|---|---|
| Product Family | DDS Series 50 mm Stage | DDS Series 100 mm Stage | DDS Series 220 mm Stage | DDS Series 300 mm Stage | DDS Series 600 mm Stage |
| Click Photo to Enlarge | ![]() | ![]() | ![]() | ![]() | ![]() |
| Travel | 50 mm | 100 mm | 220 mm | 300 mm | 600 mm |
| Maximum Velocity | 500 mm/s | 300 mm/s | 400 mm/s | 400 mm/s | |
| Possible Axis Configurations | X, XY | X, XY | X | X | |
| Mounting Surface Size | 60 mm x 52 mm | 88 mm x 88 mm | 120 mm x 120 mm | ||
| Additional Details | |||||


Click to Enlarge
Figure G1.2 モータのアルミニウム製の先端は、直線移動ステージ端部の黒いプラスチックに接触しています。これによりステージを前後に移動させます。

Click for Details
Figure G1.1 直線移動ステージELL20K(/M)をオプティカル・ディレイライン内に置かれた中空ルーフミラーの位置決めに利用
- 製品組み込み(OEM)のための事前評価試験に適した製品
- セットアップへの組み込みが容易
- 手動やPC制御で操作
- 付属の電源はステージへの電源供給用
直線移動ステージセットは直線移動ステージとインターフェイスボードを含むパッケージです。研究室のセットアップや様々な実験に容易に組み込むことができます。 また、この技術を製品へ組み込み可能かどうか判断する際に活用いただくこともできます。
こちらのセットに付属する取付けブラケットは、付属の4本のネジを用いて直線移動ステージのPCBの裏面に取り付けます。ブラケットの2つのスロットはPCBの両側にあるØ11.0 mmの穴に整合しているため、M6キャップスクリュをPCBの穴に挿入して、直線移動ステージボードを光学テーブルやブレッドボードに固定することができます。ブラケットを取り付けると、ステージの厚みは5.0 mm増します。
| Included in the ELL20K(/M) Bundle | |
|---|---|
| ELL20(/M) Linear Stage | 5 V Power Supply |
| 8-Conductor 28 AWG Ribbon Cable | |
| ELLC Interface Board | Micro-B to Type-A USB Cable |
| Mounting Bracket | PC-Based Software for Download |

直線移動ステージELL20/Mは単体でもご提供しております。複数のElliptec®共振モータ製品を使用する場合や、セットに含まれる部品が必要ではない用途向けにご利用ください。
移動範囲は60.0 mmで、取付け表面の中心にはM4タップ穴が1つ、周りにM3タップ穴が4つあります。部品はステージに直接取り付けるか、M3タップ穴で固定したアダプタープレートMMP1/MまたはRB13P1/Mなどを取付け面として使用することができます。ステージのカスタマイズや、ステージとともに取付けブラケットのご購入をご希望する場合には当社までご相談ください。
この直線移動ステージのPCB基板にはオス型の8ピンPicoflex®コネクタ(ヘッダ)が付いています。ステージELL20/Mには基板のコネクタ(ヘッダ)に結合するメス型の8ピンPicoflex®コネクタ(レセプタクル)が付属します。

| Specifications | ||
|---|---|---|
| DC Voltage Input to Controller | 4.5 to 5.5 V | |
| Typical Current Consumption Per Module | Movement | 800 mA |
| Standby | 50 mA | |
| Operating Temperature Range | 15 to 40 °C | |
| Maximum Supported Ribbon Cable Length | 520 mm (20.5") | |
| Dimensions (Interface Board Only) | 66.0 mm x 32.0 mm x 12.5 mm (2.60" x 1.26" x 0.49") | |
| Weight (Interface Board Only) | 10.8 g (0.022 lbs) | |
- 単品のELLシリーズ製品に下記のコンポーネントを追加して1組のキットを構成可能
- インターフェイスボードELLC
- USB Micro Bケーブル
- Picoflex®1ケーブル
- 型番ELLC2のみ:5 V電源(国内対応)
アップグレード用アクセサリーキットELLCxは、単品でお持ちのELLシリーズのスライダ、ステージ、マウント等に追加して、ELLセット2一式とするために必要なコンポーネントを揃えたキットです。キットELLC1とELLC2に含まれるインターフェイスボード(ELLCとして単品の別売りでもご用意)には、接続されたELLシリーズステージの位置を制御するためのボタンが3つ付いています。このボードは、USBポートを介して、USB Micro-BケーブルでPCと直接接続できます。また、インターフェイスボードをELLデバイスに接続するための0.25 mのPicoflex®ケーブル(8負荷回路)が含まれています。キットELLC2には、その他に5 V電源(国内対応)も含まれています。
1. Picoflex®はMolex社の登録商標です。
2. ELL17/M、ELL18/MおよびELL20/M用の取付けブラケットのご注文は、当社までご連絡ください。
| Table 749B Included in the ELLCx Accessory Upgrade Kits | ||||
|---|---|---|---|---|
| Item # | Interface Board | USB 2.0 Micro-B Cablea | Picoflex Cableb | 5 V Power Supplya,c |
| ELLC1 | - | |||
| ELLC2 | ||||


Click to Enlarge
Figure 813A リボンケーブルELLC4
- インターフェイスボードELLC:Elliptecデバイスのローカルおよびリモート(USB経由)での制御用
- 追加のPicoflex®1ケーブル
- 型番ELLC3:長さ250 mm
- 型番ELLC4:長さ520 mm
インターフェイスボードELLCには、接続したElliptecデバイスの位置を制御するためのボタンが3つ付いています。詳細はデバイスのマニュアルをご覧ください。インターフェイスボードにはUSBポートも付いており、USB Micro-Bケーブルを用いて直接PCに接続できます。またElliptecデバイスに電源を供給するための5 VDC電源ソケットが付いています。インターフェイスボードはElliptecデバイスのセットや、アクセサリーアップグレードキットのELLC1やELLC2にも含まれています。
Elliptecデバイス、インターフェイスボード、およびバス分配器を接続するためのPicoflex® 8芯 28AWGケーブルも、追加のご注文が可能です。これらのリボンケーブルの長さは250 mm(型番ELLC3)または520 mm(型番ELLC4)で、どちらも5本セットでご用意しています。
1. Picoflex®はMolex社の登録商標です。

| Specifications | ||
|---|---|---|
| Item # | ELLB | |
| Voltage Rating | 4.5 to 5.5 V | |
| Typical Current Consumption Per Module | Movement | 800 mA |
| Standby | 50 mA | |
| Maximum Board Current | 4.0 A | |
| Operating Temperature Range | 15 to 40 °C | |
| Ribbon Cable Length (4 Included) | 250 mm | |
| Maximum Supported Ribbon Cable Length | 500 mm | |
| Dimensions | 65.0 mm x 32.0 mm x 12.5 mm (2.56" x 1.26" x 0.49") | |
| Weight | 11 g (0.02 lbs) | |

Click to Enlarge
Figure 683A 1個のバス分配器で最大4個のElliptecデバイスを制御できます。バスは上記のセットに付属しているインターフェイスボードでPCに接続可能です。このときバスはElliptecソフトウェアによって制御され、インターフェイスボード上のボタンは無効になっていますのでご注意ください。
- 1つのバスで最大4台までのElliptec®デバイスに対する制御と電源供給が可能
- 分配器をデイジーチェーン接続すると最大16台までのElliptecデバイスを制御可能
- Elliptecシステムソフトウェア(上記の「ソフトウェア」タブ参照)によるリモート制御
- Elliptec製品のセットに付属するUSBインターフェイスボード(型番ELLC)を使用してPCに接続可能
- ジャンパ5個およびリボンケーブル(8芯、AWG28)4本が付属
- Raspberry Pi®とArduino®ボードにも対応
バス分配器ELLBには、最大4台までのElliptec®デバイスを接続できます。 接続されたデバイスは上記のセットに付属するインターフェイスボードELLCで制御可能ですが、それが無くても制御できます。インターフェイスボードを使用する場合は、接続された各デバイスはElliptecソフトウェアパッケージが動作するPCによってリモート制御されます。インターフェイスボードは、分配器のREMOTEと記載されているバス信号の入力ポートに接続します。この接続を行うと、インターフェイスボードのボタンは無効になります。インターフェイスボードを使用せずにカスタム接続する場合は、「ピン配列」タブをご覧ください。
複数のバス分配器ELLBをデイジーチェーン接続すると、最大16台までのElliptecデバイスに対する制御と電源供給が可能になります。単純に4つの出力ポート(MODULE)の内の1つを、次のボードの入力ポート(REMOTE)に接続するだけで動作します。LEDインジケータによりどのデバイスが動作しているかが示されます。ソフトウェアで各デバイスを個別にアドレス指定する方法については、通信プロトコルマニュアルをご参照ください。ソフトウェアと付属文書のダウンロードリンクは「ソフトウェア」タブにございます。
バス分配器には、最大電流4 Aの5 V電源を接続するためのØ6.3 mm電源コネクタが付いています。より多くのデバイスを接続して各ユニットを同時に制御するには、電源からより多くの電流を供給する必要があります。 各Elliptecデバイスによって消費される電流については、「仕様」タブをご覧ください。接続されたElliptecデバイスの消費電流に応じて、電源は同時に2つのデバイスに対して電流の供給ができます。
機能を追加するための制御ピンが14個付いています(Figure 683A参照)。ピンの4組のペアがそれぞれジャンパで短絡されているとき、つまりジャンパがセットされているときは、Elliptecソフトウェアは接続されたElliptecデバイスからのフィードバック信号を受信することができます。 LEDと記載されているピンのペアはジャンパで短絡されていますが、これを取り外すとLEDインジケータは無効になります。 5VとGNDと記載されたピンを用いると、Ø6.3 mm電源コネクタに接続された電源の代わりに、お手持ちの5 V、2 A 電源を使用することができます。 RX とTX と記載されたピンを用いると、Elliptecインターフェイスボードの代わりに、Raspberry Pi®やArduino®ボードでバスを制御することができます。
ボードは四隅にあるØ3.5 mm貫通穴を使用して取り付けます。リボンケーブル(8芯、AWG28)は4本付属します。
| Elliptec Resonant Motor Products | |||
|---|---|---|---|
![]() | ![]() | ![]() | ![]() |
| Multi-Position Sliders | 28 mm Linear Stage | 60 mm Linear Stage | Rotation Stage |
![]() | ![]() | ![]() | ![]() |
| Ø1/2" Rotation Mount | Ø1" Rotation Mount | Ø2" Rotation Mount | Motorized Irises |
Products Home

































































ズーム



直線移動: 移動量60 mm共振ピエゾモータ